加速企业人才供给
打通场景、整合业务
清晰规划晋升学习路径
跨终端响应、碎片化学习
打通“教学练测评”闭环
助力企业构建学习型组织
提供完整系统数据分析
实现“多快好省”做课件
沉淀知识,构建组织智库
培训成果交付,岗位资质认证
1.学员可以通过点击首页【学习】-【我的任务】-【专项考试】中进行作答。
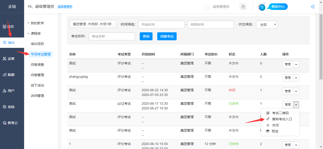
2.学员可以通过扫描专项考试二维码进行答题,二维码获取路径:【管理后台】-【培训】-【专项考试管理】-【管理】-【考试二维码】。
3.学员可以通过扫描专项考试入口直接进入考试页面进行答题,考试入口获取路径:【管理后台】-【培训】-【专项考试管理】-【管理】-【复制考试入口】。